Le capteur radar sur puce CMOS à 60 GHz du fournisseur de semi-conducteur allemand Infineon, destiné aux solutions IoT à ultra basse consommation, a pour ambition, selon la société, de devenir un capteur clé pour l'intelligence artificielle (IA) physique (*) et pour accroître l'intelligence des appareils connectés et de la maison connectée.
Baptisé BGT60CUTR13AIP, ce capteur radar qui fait partie de la famille des circuits Xensiv d’Infineon, dispose d’une certification FCC transférable pour une mise sur le marché rapide.
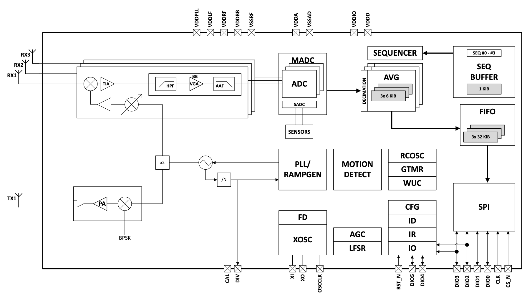
La solution intègre un traitement sur puce alimenté par un accélérateur matériel, procurant un accès facilité aux données brutes ou prétraitées acquises. En gérant le traitement radar directement sur la puce, la solution d'Infineon décharge le processeur hôte et prend en charge une architecture système plus performante, autorisant des formats d’équipements finaux plus compacts et une meilleure rentabilité, selon la société.
Grâce à un chargeur de démarrage intégré, le capteur est capable d'exécuter une détection de présence en mode ultra-basse consommation de manière totalement autonome, et ce afin de réveiller l'hôte, uniquement si nécessaire.
Avec une bande passante allant jusqu'à 7 GHz et une puissance de sortie de 11 dBm, le capteur radar XENSIV BGT60CUTR13AIP procure une résolution suffisamment élevée pour détecter les cibles mobiles et statiques à une portée étendue allant jusqu'à 20 m.
Optimisé en termes de coût et d'encombrement, le boîtier d'antenne comprend une voie d'émission (Tx) et trois voies de réception (Rx) pour un champ de vision allant jusqu'à 150°, couvrant les deux dimensions : azimut et élévation.
Ainsi, ce capteur radar permet aux applications d'IA physique de gagner en intelligence et d'offrir des interactions plus naturelles et intuitives avec les utilisateurs, notamment pour les caméras de sécurité, les thermostats intelligents, les téléviseurs connectés et les systèmes de ventilation, de chauffage et de climatisation.
Cette solution intégrée est, selon Infineon, adaptée aux applications de maison et de bâtiment intelligents alimentées par batterie qui interagissent avec l'utilisateur dès la détection de présence, comme les sonnettes vidéo, les écrans et les enceintes connectés.
Des piles logicielles spécifiques à ce capteur, prennent en outre en charge des fonctionnalités avancées telles que le suivi des personnes, la détection des gestes, la surveillance de l'activité et la détection des signes vitaux, permettant aux objets connectés intelligents de réagir plus naturellement à leur environnement tout en protégeant la vie privée des utilisateurs.
Signalons enfin que pour ce capteur, Infineon fournit aux développeurs un kit de démonstration complet pour évaluer les performances du matériel et les solutions logicielles disponibles.
« Grâce à nos bibliothèques logicielles, à notre infrastructure de développement et à une conception de référence certifiée FCC, les utilisateurs pourront intégrer des fonctionnalités radar innovantes et développer de nouveaux produits finaux avec un délai de commercialisation plus court, précise Andreas Kopetz, vice-président et directeur général, responsable de la gamme de produits Radar chez Infineon.
(*) L'IA physique peut se définir comme la fusion entre des technologies d’intelligence artificielle et la physique. L’IA physique a pour objet de transformer la manière dont les machines interagissent avec le monde réel, afin de leur permettre de percevoir, comprendre et naviguer dans des environnements complexes. Et ce en traitant directement des données provenant de capteurs et d'actionneurs.

